95222 - Alligator Jaws


Precio:
Request pricing

Lead Time:
Special Order

Documentation

Descripción

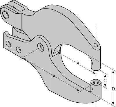
Alligator jaw Front Head Assemblies For US151TA/A

Specifictions
  • " A " Dimension : 7
  • " B " Dimension : 8 1/8
  • " C " Dimension : 13/16
  • " D " Dimension : 1 7/8
  • OPT. Wedge : 35161
  • Product Features
    • Heat Treated Alloyed steel
    • Precision Ground
    • Includes all bearings and pins for proper installation into housing
    • Set Hole Dia. .187
    • All designs supported by F.E.A. Analysis for maximum allowable stresses and model displacement.

    Reviews

    Product recommendations

    Recently viewed