Documentation
Descrição
The FR902 is a custom flushness gage that provides a quick and accurate flushness measurement. The 0.060 inch (1.5 mm) flat point stylus is perfect for measuring selected areas of the fastener head for flushness. The tripod bases listed in the table (see back) can be easily interchanged to clear the installed fastener head. This gage could be used in combination with any countersink depth or diameter gages in order to achieve greater control of the fastener installation process.
Features:
- Measuring accuracy .0001 inch (.0025mm)
- Direct contact with the stylus allows pin point selection of the protrusion
measurement. - Direct reading, no calculations or charts necessary.
- Accurate, repeatable, and reproducible.
- SPC ready via data port cable.
- Ease of use with minimal training.
- Eliminate costly rework.
- Gage and set block calibrated to NIST traceable standards.
- Unique serial numbers on gages, set blocks, and indicators.
- The components of our gages are made of heat-treated wear-resistant tool steels and micro-finished to ensure accurate and trouble-free operation.
Digital Indicators Features:
- LCD display with rotating bezel.
- Inch/ mm mode toggle capable.
- SPC data output ready via the data port.
- Upper and lower tolerance capable.
- User-selectable resolution (Mahr-Federal).
- Auto power off after 15 minutes of inactivity (Mahr-Federal).
- Lockout of setup preset (access key- Mahr-Federal, computer -Mitutoyo)
- Choice of indicators: Mahr-Federal, Mitutoyo, or Sylvac (please advise of your preference).
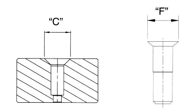
Trulok® gages are built to your exact specifications. The size of the flat (zero) set block is determined by the size and base configuration. Please supply us with the following data:
- "F" Fastener head diameter:
- "C" Countersink major diameter:
- Fastener part number and/or specification:
- Surface curvature:
| TRIPOD PN | O.D. | I.D. |
|---|---|---|
| T-74 | 2.313 | 2.212 |
| T-64T | 2.000 | 1.750 |
| T-64 | 2.000 | 1.750 |
| T-54 | 1.688 | 1.562 |
| T-50 | 1.563 | 1.463 |
| T-48 | 1.500 | 1.400 |
| T-36 | 1.125 | 1.000 |
| T-32 | 1.000 | 0.900 |
| T-30 | 0.938 | 0.838 |
| T-24 | 0.750 | 0.688 |
| T-20 | 0.625 | 0.562 |


